Aortic Innovations LLC v. Edwards Lifesciences Corp. (Fed. Cir. 2025)

McDonnell Boehnen Hulbert & Berghoff LLP
Contact

McDonnell Boehnen Hulbert & Berghoff LLP

In a seemingly otherwise run-of-the-mill, albeit precedential, decision, the Federal Circuit affirmed a stipulated judgment of non-infringement in Aortic Innovations LLC v. Edwards Lifesciences Corp.

The case arose in litigation over the claims of Aortic’s U.S. Patent Nos. 10,881,538, 10,966,846, 10,987,236, and 11,129,735 directed towards devices for transcatheter aortic valve replacement; two alternatives of such devices are illustrated in the opinion as comprising a “balloon-expandable frame” and a “self-expanding frame”:

Claim 1 of the ‘735 patent is set forth in the opinion as representative:

1. An endovascular transcatheter valve assembly comprising:
an outer frame,
wherein the outer frame is formed from a metallic material and defines an open cell configuration
wherein the outer frame includes an inflow end at a proximal portion thereof and an outflow end at a distal portion thereof,
wherein the outer frame is formed by a plurality of struts that adjoin each other at the inflow end to form apices:
an inner frame that engages a prosthetic heart valve having prosthetic leaflets, wherein the inner frame includes a cylindrically extending inner graft covering extending at least partially radially outwardly of the prosthetic heart valve and radially inwardly of the outer frame for providing sealing to the prosthetic heart valve,
wherein the outer frame is secured to the inner graft covering by stitching a proximal portion of the outer frame;
an outer seal for preventing paravalvular leaks that at least partially extends over at least two most proximal rows of cells formed in the outer frame,
wherein the outer seal is formed of outwardly extending fibers positioned externally to the outer frame,
wherein the valve assembly has a radially com-pressed orientation and a radially expanded orientation,
wherein the valve assembly is configured to press some of the fibers against native leaflets of the aorta of the patient
wherein an end of the apices of the outer frame that are most proximal are covered by the outer seal and the graft covering,
wherein the end of the most proximal apices of the outer frame extends more proximally than a proximal end of the outer seal.

(wherein outer frame is italicized for being the claim element at issue in the case).

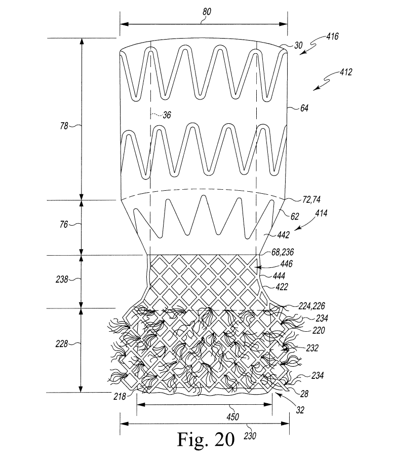
The District Court construed the term “outer frame” to be consistent with disclosure in the specification, particularly structure 416 identified in a dual-frame transcatheter valve illustrated by this Figure 20:

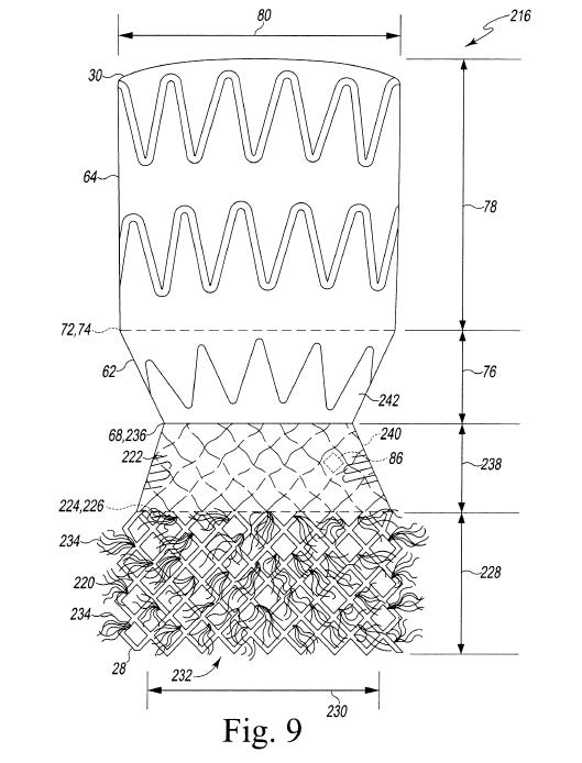
and structure 216 identified in a dual-frame endo-graft device illustrated by this Figure 9:

In this construction the District Court held that the term “outer frame” be interpreted as being interchangeable with “a self-expanding frame” as asserted by Edwards (rather than by its plain and ordinary meaning as Aortic argued) because Aortic had acted as its own lexicographer by using the terms “outer frame,” “self-expanding frame,” and “self-expanding outer frame” interchangeably. The parties stipulated that under this construction Edwards’ accused SAPIEN 3 Ultra valve, a single, balloon-expandable frame did not infringe the asserted claims.

In the meantime, and relevant to this appeal, Edwards filed inter partes review petitions against the asserted patents and instituted IPRs for all but the ‘735 patent. The District Court entered judgment based on the stipulation of non-infringement and this appeal followed.

The Federal Circuit affirmed, in an opinion by Judge Reyna and joined by Judges Prost and Chen. (The Court dismissed the appeal for lack of jurisdiction regarding the ‘538 patent, in which the Patent Trial and Appeal Board held in a Final Written Decision that all claims were invalid, relying on Fresenius USA, Inc. v. Baxter Int’l, Inc., 721 F.3d 1330, 1340 (Fed. Cir. 2013)). Turning to the merits, the panel agreed with the District Court’s construction that the term “outer frame” comprised embodiments that were also “self-expanding” and that the terms are interchangeable, and affirmed the District Court’s claim construction accordingly. The basis for the Court’s conclusion on this construction was that a patentee is permitted to be its own lexicographer, provided that a definition of a claim term “other than its plain and ordinary meaning” must be set forth clearly and when this written description is satisfied the term should be construed in that way, citing Thorner v. Sony Comput. Ent. Am. LLC, 669 F.3d 1362, 1367 (Fed. Cir. 2012). This definition does not need to be disclosed as an explicit redefinition of a term otherwise having a plain and ordinary meaning, however, but may define terms by implication, under Bell Atl. Network Servs., Inc. v. Covad Commc’ns Grp., Inc., 262 F.3d 1258, 1268 (Fed. Cir. 2001). This burden is greater than “[s]imply referring to two terms as alternatives or disclosing embodiments that all use the term[s] the same way[, which] is not sufficient to redefine a claim term” according to the opinion. But should the patent disclose a “consistent and clear interchangeable use of two terms [this] can result in a definition equating the two terms” according to the Court, citing Edwards Lifesciences LLC v. Cook Inc., 582 F.3d 1322, 1329 (Fed. Cir. 2009); Wasica Fin. GmbH v. Cont’l Auto. Sys., Inc., 853 F.3d 1272, 1282 n.6 (Fed. Cir. 2017); Bid for Position, LLC v. AOL, LLC, 601 F.3d 1311, 1317–18 (Fed. Cir. 2010); Tate Access Floors, Inc. v. Maxcess Techs., Inc., 222 F.3d 958, 968 (Fed. Cir. 2000); and Bell Atl., 262 F.3d at 1274–75 (and setting forth the bases in this precedent for the Court to arrive at a determination of redefinition).

The panel agreed with the District Court that “[h]ere, a skilled artisan would understand that the claimed term ‘outer frame’ is a ‘self-expanding frame,’” citing the portions of the specification relied upon by the District Court (structure 416 in Figure 20 and structure 216 in Figure 9). According to the opinion, “this disclosure clearly indicates that structures 216 and 416 are outer frames that must self-expand.” In addition, the panel cited the consistent disclosure in the specification that “claim 1’s ‘outer frame’ is a ‘self-expanding frame,’” citing multiple examples of such disclosure in the summary section. Citing GPNE Corp. v. Apple Inc., 830 F.3d 1365, 1370 (Fed. Cir. 2016), for the rubric that “when a patent repeatedly and consistently characterizes a claim term in a particular way, it is proper to construe the claim term in accordance with that characterization,” the opinion asserts that “the specification clearly and consistently conveys that the self-expanding nature of structures 216 and 416 is present in all embodiments of those devices.” In view of this understanding, the Court held that the District Court was correct that the skilled artisan would understand the disclosure to be consistent with this construction.

The opinion also somewhat summarily rejected Aortic’s additional argument that the Court should judicially estop Edwards from arguing that the term “outer frame” should be construed as anything other than its plain and ordinary meaning due to putative inconsistencies between their argument before the District Court and before the Patent Trial and Appeal Board during inter partes review proceedings, finding that Aortic had forfeited this argument by not raising it before the District Court.

Aortic Innovations LLC v. Edwards Lifesciences Corp. (Fed. Cir. 2025)
Panel: Circuit Judges Prost, Reyna, and Chen
Opinion by Circuit Judge Reyna

[View source.]

DISCLAIMER: Because of the generality of this update, the information provided herein may not be applicable in all situations and should not be acted upon without specific legal advice based on particular situations. Attorney Advertising.

© McDonnell Boehnen Hulbert & Berghoff LLP

Written by:

McDonnell Boehnen Hulbert & Berghoff LLP
Contact
more
less

What do you want from legal thought leadership?

Please take our short survey – your perspective helps to shape how firms create relevant, useful content that addresses your needs:

McDonnell Boehnen Hulbert & Berghoff LLP on:

Reporters on Deadline

"My best business intelligence, in one easy email…"

Your first step to building a free, personalized, morning email brief covering pertinent authors and topics on JD Supra:
*By using the service, you signify your acceptance of JD Supra's Privacy Policy.
Custom Email Digest
- hide
- hide